Nuevo: Higrotermo electrónico - Disponible para pedido anticipado
ETF 012
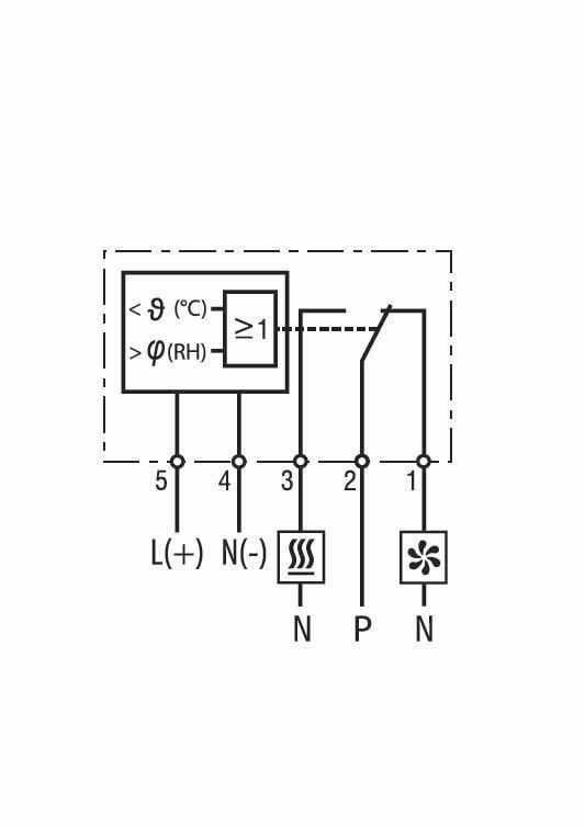
El higrotermo electrónico controla simultáneamente la temperatura y la humedad del aire en envolventes y armarios de distribución. La condensación se evita conmutando la calefacción y los ventiladores según sea necesario.
- Temperatura y humedad del aire ajustables
- Amplio rango de voltaje
- Anchura DIN estándar (35 mm)
- Abrazadera a presión
- Gran altura de conmutación
- Temperatura de funcionamiento hasta -40 °C
- Indicación visual del estado





